Приветствую Вас Гость :: RSS :: Четверг :: 23.04.2026 ::
Реклама на сайте
Меню портала

Форма входа

Мини-чат

[ Новые сообщения · Участники · Правила форума · Поиск · RSS ]

  • Страница 1 из 1
  • 1
Пандус по несъемной опалубке
kotenevsДата: Пятница, 18.09.2015, 06:33 | Сообщение # 1
Рядовой
Награды:
0  
Группа: Пользователи
Сообщений: 9
Репутация: 0
Статус: Offline
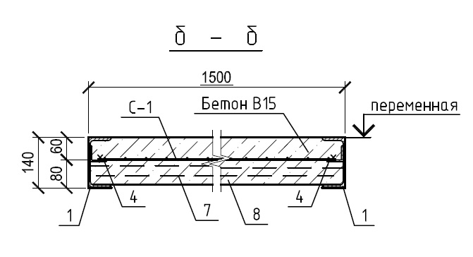
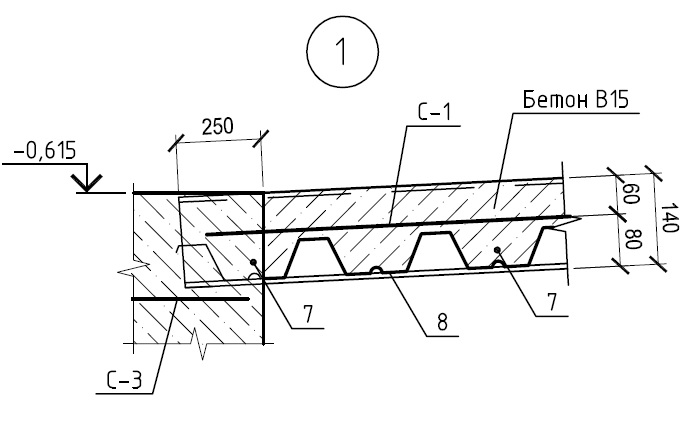
Здравствуйте! Подскажите, пожалуйста, кто знает, как расценить устройство пандуса, который является монолитной плитой по металлическому проф.листу с несъемной опалубкой. И как учесть швеллеры и уголки, которые к нему привариваются? Прикладываю файлы - узлы, показывающие продольный и поперечный разрез пандуса, где "1" - швеллер №14, "4" - уголок №50х5, "8"- проф.лист.
Прикрепления: 4701273.jpg (39.6 Kb) · 7383147.jpg (55.3 Kb)


Сообщение отредактировал kotenevs - Пятница, 18.09.2015, 06:38
 
den795Дата: Пятница, 18.09.2015, 08:46 | Сообщение # 2
Генералиссимус
Москва
Награды:
79  
Группа: Проверенные
Город: Москва
Сообщений: 4076
Репутация: 121
Статус: Offline
Цитата kotenevs ()
проф.листу с несъемной опалубкой.

Есть 2 варианта. 1-й на основании пункта 1.6.17 тех части 6 сборника

И 2-й опалубку расценить отдельно как устройство профлиста по 9 сборнику + бетонирование. (этот вариант дешевле, но на мой взгляд технологически более правельный.)


Денис Владимирович

Сообщение отредактировал den795 - Пятница, 18.09.2015, 10:05
 
kotenevsДата: Пятница, 18.09.2015, 08:57 | Сообщение # 3
Рядовой
Награды:
0  
Группа: Пользователи
Сообщений: 9
Репутация: 0
Статус: Offline
den795, Спасибо! А подойдет ли такой вариант: ТЕР06-01-087-02 (Монтаж и демонтаж крупнощитовой опалубки перекрытий) заменить в ресурсной части щиты на профлист + бетонирование?
 
den795Дата: Пятница, 18.09.2015, 09:02 | Сообщение # 4
Генералиссимус
Москва
Награды:
79  
Группа: Проверенные
Город: Москва
Сообщений: 4076
Репутация: 121
Статус: Offline
Цитата kotenevs ()
ТЕР06-01-087-02

Думаю нет, профлист крепится немного по другому чем щиты.


Денис Владимирович

Сообщение отредактировал den795 - Пятница, 18.09.2015, 09:02
 
kotenevsДата: Пятница, 18.09.2015, 09:38 | Сообщение # 5
Рядовой
Награды:
0  
Группа: Пользователи
Сообщений: 9
Репутация: 0
Статус: Offline
den795, а тогда как же быть с швеллерами и уголками? Подойдет ТЕР06-01-015-06 (Установка стальных конструкций, остающихся в теле бетона)?
 
den795Дата: Пятница, 18.09.2015, 09:47 | Сообщение # 6
Генералиссимус
Москва
Награды:
79  
Группа: Проверенные
Город: Москва
Сообщений: 4076
Репутация: 121
Статус: Offline
Цитата kotenevs ()
ТЕР06-01-015-06 (Установка стальных конструкций, остающихся в теле бетона)?

Швеллер приваривается к проф-листу а не остается в теле бетона. Все зависит от объема работ. Сварочные работы учтены расценкой 9-ого сборника.


Денис Владимирович
 
kotenevsДата: Пятница, 18.09.2015, 10:54 | Сообщение # 7
Рядовой
Награды:
0  
Группа: Пользователи
Сообщений: 9
Репутация: 0
Статус: Offline
den795, получается, используем:
ТЕР09-04-002-01 (Монтаж кровельного покрытия из профилированного листа при высоте здания до 25 м);
ТСЦ-101-3833 (Профилированный лист оцинкованный Н75-750-0,7);
ТСЦ-101-3687 (Швеллеры № 14 сталь марки Ст3пс);
ТСЦ-101-1089 (Прокат угловой горячекатаный нормальной точности прокатки немерной длины из стали С245) это учитываем уголки 50х5;
ТСЦ-204-0034 (Надбавки к ценам заготовок за сборку и сварку каркасов и сеток плоских, диаметром 5-6 мм);
ТЕР06-01-091-06 (Бетонирование перекрытий с помощью автобетононасоса в крупнощитовой и объемно-переставной опалубках толщиной до 16 см)
?
 
den795Дата: Пятница, 18.09.2015, 12:02 | Сообщение # 8
Генералиссимус
Москва
Награды:
79  
Группа: Проверенные
Город: Москва
Сообщений: 4076
Репутация: 121
Статус: Offline
Цитата kotenevs ()
ТСЦ-204-0034 (Надбавки к ценам заготовок за сборку и сварку каркасов и сеток плоских, диаметром 5-6 мм);

Это лишнее.

В расценке из 9 сборника в ресурсах учтен профиль и швеллер. Если Ваш объем превышает учтенный в расценке, то вычитайте его и учитывайте по факту.


Денис Владимирович
 
kotenevsДата: Пятница, 18.09.2015, 12:58 | Сообщение # 9
Рядовой
Награды:
0  
Группа: Пользователи
Сообщений: 9
Репутация: 0
Статус: Offline
den795, Спасибо вам большое за разъяснение)
 
den795Дата: Пятница, 18.09.2015, 13:09 | Сообщение # 10
Генералиссимус
Москва
Награды:
79  
Группа: Проверенные
Город: Москва
Сообщений: 4076
Репутация: 121
Статус: Offline
kotenevs, Только не забудте учеть дополнительно армирование сеткой.


Денис Владимирович
 
abk63Дата: Пятница, 18.09.2015, 15:10 | Сообщение # 11
Сметчик
Оренбург
Награды:
413  
Группа: Проверенные
Город: Оренбург
Сообщений: 20516
Репутация: 740
Статус: Offline
Цитата den795 ()
В расценке из 9 сборника в ресурсах учтен профиль и швеллер.
с каких пор? или вы про те 3 кг на 100 м2? так он для других целей....


Сметная лавка. Беседы о сметах и не только...
Сметный портал в ТГ
Сметчикам - про ПИР, ПНР и не только...
 
den795Дата: Пятница, 18.09.2015, 15:30 | Сообщение # 12
Генералиссимус
Москва
Награды:
79  
Группа: Проверенные
Город: Москва
Сообщений: 4076
Репутация: 121
Статус: Offline
Цитата abk63 ()
с каких пор? или вы про те 3 кг на 100 м2? так он для других целей....
И профиля 11 кг. Я же не знаю объемов работ. Хотя Вы наверное правы, металл нужно добавлять.


Денис Владимирович

Сообщение отредактировал den795 - Пятница, 18.09.2015, 15:33
 
  • Страница 1 из 1
  • 1
Поиск:

Сервисы



Телеграмм чат


Администратор
icq: 264-585-675
e-mail: andreyka_s@list.ru
web: www.semushin.name


Согласно п. 4.5 Правил Сметного портала запрещено размещение материалов попадающих под действие Статьи 1259 и Статьи 1270 ГК РФ, на которые распространяются авторские права правообладателя, без согласования с ним. В случае обнаружения материалов нарушающих права правообладателя просим сообщить через форму обратной связи.
Семушин А.А.
Яндекс.Метрика